Jump to content

Recommended Posts

Posted

ინტელექტუალური საკუთრების მსოფლიო ორგანიზაციის მონაცემთა ბაზა PatentScope-ში გამოჩნდა Microsoft-ის დასაკეცი მაუსის პატენტი. ამ პატენტის რეგისტრაციაზე განაცხადი კომპანიამ მიმდინარე წლის მარტში შეიტანა, თუმცა გამოქვეყნდა 4 ნოემბერს. 

image.png 

ფოტოს წყარო: Microsoft 

დოკუმენტში აღწერილი მანიპულატორი ძალიან ჰგავს ამჟამად არსებულ უსადენო მაუს Microsoft Arc-ს, თუმცა შესაძლოა იყოს დაკეცვისას უფრო თხელი და გადასაადგილებლად უფრო მარტივი ამჟამინდელ მოდელთან შედარებით. 

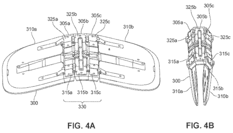
„წარმოდგენილ მაუსს დეფორმირებული კორპუსი აქვს და მომხმარებელს სთავაზობს ორ კონფიგურაციას გამოსაყენებლად. დაკეცილ მდგომარეობაში მაუსს შეუძლია მიიღოს და გადასცეს შემომავალი სიგნალები კურსორის მართვისთვის. გაშლილი მდგომარეობის შემთხვევაში დეფორმირებადი სხეულის ერთი ნაწილი დეფორმირებული სხეულის მეორე ნაწილზეა გადაფარებული“, - ნათქვამია მოწყობილობის საპატენტო განაცხადში. 

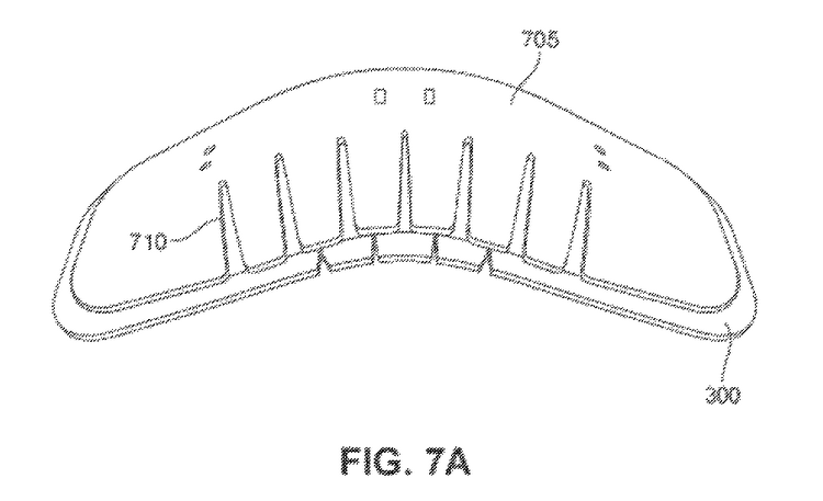
Microsoft-ის მიერ წარმოდგენილი ილუსტრაციები გვიჩვენებს, თუ რა აქვს კომპანიას მხედველობაში. 

image.png 

image.png 

კომპანია ასევე მიუთითებს მაუსის ერთგვარი გაფართოებული გარსის გამოყენების შესაძლებლობაზე. 

image.png 

პატენტის თანახმად მაუსის შემადგენლობაში შედის მოძრაობის სენსორი, რომელიც განსაზღვრავს მანიპულატორის სივრცეში გადაადგილებას. აგრეთვე ნახსენებია გარკვეული შიდა კომპონენტი „ტაქტილური შეყვანის მონაცემების უსადენო გადაცემის და გამოთვლით მოწყობილობაზე მანიპულატორის გადაადგილებისთვის ". შეგახსენებთ, რომ ამჟამად არსებული Microsoft Arc-ის ზოგიერთ ვერსიას გააჩნია სპეციალური სენსორული პანელი, რომელიც მოქმედებს როგორც ზედა და ქვედა მიმართულებით მბრუნავი გორგოლაჭი. 

image.png 

Microsoft-ის განცხადების თანახმად თანამედროვე კომპიუტერის მაუსები ხშირად ზედმეტად დიდი ზომის და მოუხერხებლებია პორტატულ მოწყობილობებთან სატარებლად და გამოსაყენებლად. რა თქმა უნდა, ბაზარზე ბევრი ძალიან კომპაქტური გადაწყვეტილება, მაგრამ Microsoft-ის თქმით, „ ისინი არ არის ერგონომიული და ხშირად მოუხერხებელია გამოყენებისთვის“. 

მხოლოდ პატენტის არსებობა არ იძლევა იმის გარანტიას, რომ Microsoft-ის ახალი დასაკეცი მაუსი ოდესმე იხილავს დღის სინათლეს. პორტალი ArsTechnica დაუკავშირდა კომპანიის წარმომადგენლებს, რომლებმაც განაცხადეს, რომ მწარმოებელს კომენტარი არ გაუკეთებია მომავალ პროდუქტების შესახებ. 

Microsoft Arc მაუსებიც შესაძლებელია დაიკეცოს თაღისებულად ან სიბრტყეზე. ამგვარ კონსტრუქციას კომპანია 2010 წლიდან იყენებს, თუმცა მათი ორად დაკეცვა შეუძლებელია. 

image.jpeg 

თუ ისტორიას კიდევ უფრო ღრმად ჩავუღრმავდებით, შეგვიძლია გაიხსენოთ პირველი თაობის Arc, რომელიც 2008 წელს გამოვიდა. 

image.jpeg 

ეს მოდელი აღჭურვილი იყო მექანიზმით, რომელიც მანიპულატორს დაკეცვის საშუალებას აძლევდა. 

Join the conversation

You can post now and register later. If you have an account, sign in now to post with your account.

Guest
Reply to this topic...

×   Pasted as rich text.   Paste as plain text instead

  Only 75 emoji are allowed.

×   Your link has been automatically embedded.   Display as a link instead

×   Your previous content has been restored.   Clear editor

×   You cannot paste images directly. Upload or insert images from URL.

×
×
  • Create New...

Important Information

We have placed cookies on your device to help make this website better. You can adjust your cookie settings, otherwise we'll assume you're okay to continue.