Jump to content

Recommended Posts

Posted

შეერთებული შტატების პატენტებისა და სავაჭრო ნიშნების სამმართველომ (USPTO) კომპანია Samsung-ს მიანიჭა პატენტი ეკრანის მქონე მოწყობილობისთვის. ამ ლაკონურ დასახლებაში მოიაზრება მეტად საინტერესო სმარტფონი, რომელიც დრეკადი ეკრანით იქნება წარმოდგენილი. 

image.jpeg 

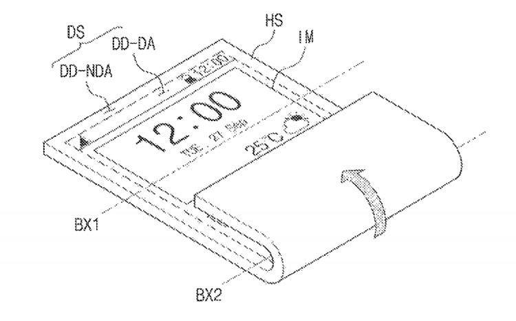
გაშლისას გაჯეტი ჩვეულებრივი მონობლოკის ტიპის სმარტფონივით გამოიყურება. ეკრანთან ურთიერქმედება მომხმარებლებს შეეძლებათ ტრადიციული მეთოდით. 

image.jpeg 

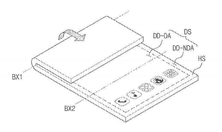
როგორც საპატენტო ილუსტრაციებში ჩანს, კონსტრუქციაში გათვალისწინებულია დაკეცვის ორი ხაზი - მოწყობილობის ზედა და ქვედა ნაწილებში. ამრიგად, შესაძლებელია დაიკეცოს ზედა ან ქვედა სექცია, გამოსახულება კი გამოჩნდება ეკრანის დარჩენილ ნაწილში. 

image.jpeg 

image.jpeg 

საჭიროების შემთხვევაში შესაძლებელია ერთდროულად ორივე სექციის დახურვა - ასეთ მდგომარეობაში ეკრანი მთლიანად დაიმალება. უფრო მეტიც, სამხრეთკორეული გიგანტის ჩანაფიქრის თანახმად სმარტფონის ნაწილები შეძლებენ 180 გრადუსით მოტრიალებას როგორც წინა, ასევე უკუმიმართულებით, რაც მოწყობილობის გამოყენების სხვადასხვა რეჟიმების რეალიზების შესაძლებლობას იძლევა.  

image.jpeg 

image.jpeg 

როგორც ხშირად ხდება არასტანდარტული დიზაინის შემთხვევაში, სურათებზე ნაჩვენები მოწყობილობა მჟამად მხოლოდ საპატენტო დოკუმენტებში არსებობს. აპირებს თუ არა Samsung-ი ამ იდეის გაცოცხლებას, ჯერჯერობით უცნობია. 

 

 

Join the conversation

You can post now and register later. If you have an account, sign in now to post with your account.

Guest
Reply to this topic...

×   Pasted as rich text.   Paste as plain text instead

  Only 75 emoji are allowed.

×   Your link has been automatically embedded.   Display as a link instead

×   Your previous content has been restored.   Clear editor

×   You cannot paste images directly. Upload or insert images from URL.

×
×
  • Create New...

Important Information

We have placed cookies on your device to help make this website better. You can adjust your cookie settings, otherwise we'll assume you're okay to continue.